服務熱線:15195518515在線客服:1464856260
傳真號碼:0517-86801009
郵箱號碼:1464856260@qq.com
網 址:http://m.houfugongyi.com
地 址:江蘇省金湖縣理士大道61號
液氨磁翻板液位計的工作原理結構圖
液氨磁翻板液位計是一種現場實時指示型液位計,在各行各業的液位測量中都有廣泛地應用。那么,液氨磁翻板液位計的工作原理、產品結構是怎樣的呢?本文就此介紹如下,希望大家對液氨磁翻板液位計有更為深入地了解和認識。
一、液氨磁翻板液位計的原理
液氨磁翻板液位計主要基于連通器和磁性耦合原理實現對液位的實時測量和顯示。浮筒內的磁性浮子隨容器中被測液位的升降而升降,浮子內的永久磁鋼通過磁性耦合驅動浮筒外部的磁性翻片翻轉180°。翻片兩面分別涂有不同顏色(通常為紅色和白色),以指示液位的位置,一般地,當容器內液位上升時,翻片由白色轉變為紅色,當容器內液位下降時,翻片由紅色轉變為白色,指示器的紅白交界處為容器內液位的實際高度。
液氨磁翻板液位計與超聲波液位計*大的區別就是接觸式測量和非接觸式測量。
液氨磁翻板液位計的優勢是結構簡單、具有高密封,防泄漏等特點,適用于高溫、高壓、耐腐蝕的場合,顯示直觀、醒目,測量范圍比較廣;而超聲波流量計的優勢是流量測量準確度幾乎不受被測流體溫度、壓力、粘度、密度等參數的影響,又可制成非接觸式測量儀表,可解決其它類型儀表所難以測量的強腐蝕性、非導電性、放射性及易燃易爆介質的流量測量問題。
液氨磁翻板液位計作為接觸式測量儀表,需要考慮的與介質接觸的防腐性材質問題,而超聲波流量計則不需要考慮。雖然超聲波液位計也可以測量腐蝕性介質,但是一旦出現揮發性介質,就另當別論了。當介質內出現真空啊、蒸汽含量過高、以及液面泡沫等情況時是不能選用超聲波液位計的,而液氨磁翻板液位計對這一系列工況毫無影響。超聲波液位計雖然測量先進度方面比液氨磁翻板液位計先進,但是安裝方面比較復雜,測量介質限制條件比較多,一般情況下啊,測量液位都選擇液氨磁翻板液位計,只有當液氨磁翻板液位計不適用的時候,才考慮超聲波液位計或者雷達液位計。

液氨磁翻板液位計的工作原理圖
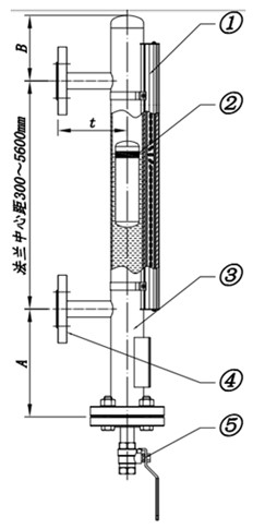
二、液氨磁翻板液位計的結構
液氨磁翻板液位計的結構由浮筒(主導管)、磁浮子、磁翻板(磁翻柱)、指示器、排污閥、連接法蘭等組成。如下圖所示:

液氨磁翻板液位計結構圖
①指示器;②磁浮子;③浮筒;④連接法蘭;⑤排污閥



|